

法兰橡胶蝶阀d341x产品简介: 法兰橡胶蝶阀这种阀门既可作切断介质用,又可作调节介质的流量用。驱动装置根据用户要求,分别可采用手动、电动、气动等方式。选用不同材料的零件,配用不同材料的密封圈,可适应不同的介质、工况,使成本与性能达到最佳效果。 是管线优先选用的常规蝶阀,适用于温度≤120℃或≤150℃,公称压力≤1.6mpa给排水、污水、食品、供暖、燃气、船舶、水电、冶金、能源系统以及轻纺等行业,具有结构简洁,流阻系数小,流量特性趋于直线,不会滞留杂物。且重量轻,安装方便,驱动扭矩较小的优点。法兰橡胶蝶阀d341x工作原理: 蝶板的回转中心(即阀杆的中心)位于阀体的中心线和蝶板的密封面截面上,蝶板旋转90角度即可完成启闭。阀座采用合成橡胶。关闭时蝶板的外圆密封面挤压合成橡胶阀座,使阀座产生弹性变形而形成弹性力作为密封比压保证蝶阀的密封。法兰橡胶蝶阀d341x产品特点:★驱动方式可选择手动、电动或气动。☆流量特性趋直线,调节性能好。◆密封件可更换,且密封可靠达到双向密封。 ◇小巧轻便,容易拆装及维修,并可在任意位置安装。■结构简单、紧凑,操作扭矩小,90°回转开启迅速。□蝶板可根据用户要求喷涂覆层,如尼龙或聚四氟类。▲蝶板与阀杆的连接采用无销钉结构,克服了有可能的内泄漏点。△蝶板外圆采用球面造型,提高了密封性能及延长了阀门的使用寿命,带压启闭5万次以上仍保持零泄漏。☆设计与制造:gb12238 结构长度:gb12221(13系列)法兰连接尺寸:gb4216 d41j半衬衬胶法兰橡胶蝶阀蝶阀

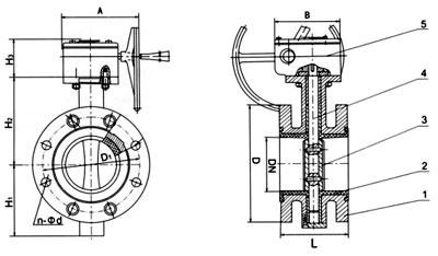
部件列表:1、阀体 2、阀座 3、蝶板 4、阀杆
法兰橡胶蝶阀用途:
密封圈材料代号 |
适用温度 |
适用介质 |
nr |
≤85℃ |
水、空气、酸碱类 |
cr |
≤85℃ |
水、煤气、酸碱类 |
nbr |
≤100℃ |
水、油品 |
cpdm |
≤120℃ |
水、蒸汽、一般酸碱类 |
fkm |
≤150℃ |
水、蒸汽、强酸碱类 |
法兰橡胶蝶阀材料:
阀体 |
铸铁、球墨铸铁、碳钢、不锈钢 |
蝶板 |
铸铁、球墨铸铁、碳钢、不锈钢、碳钢完全包覆橡胶或氟塑料 |
阀杆 |
碳钢镀镍磷、不锈钢 |
阀座密封圈 |
天然胶nr、氯丁胶cr、丁腈胶nbr、三元乙丙胶epdm、氟橡胶fkm |
气动装置 |
组合件 |
压力等级:pn(mpa) 1.0 1.6
法兰橡胶蝶阀测试:
衬里层:电火花检测
试验与检验按gb/t13927标准
公称压力:pn(mpa)
阀体:pn×1.5
密封:pn×1.1
任选附件:蜗轮装置、气动装置、电动装置
